小猪号
  • 首页
  • 资讯中心
    • IT业界
    • 实时快讯
    • 手机平板
    • 爱车一族
    • 游戏世界
    • 家电数码
    • 软件之家
    • 电脑办公
    • 科学动态
    • 影音达人
  • 苹果新闻
  • 特斯拉
  • 技术分类
    • 苹果技术
    • safari教程
    • Homepod技术
    • Mac技巧
    • Mac工具软件
    • AirPods教程
    • AirTag教程
    • iPhone教程
    • iPad教程
    • Apple Watch教程
    • Apple 服务计划
    • Pages教程
    • Numbers教程
  • 智能时代
    • 人工智能
    • 智能家居
    • 智能穿戴
  • 百科排行
    • 产品运营
    • 创业资讯
    • 手机术语
    • 手机问题
    • 装修建材
    • 网络流行榜
标签
首页 包含"小说 第4页"标签的文章
空间文完结女主小说(穿越文笔好的高质量的古言小说) 百科排行

空间文完结女主小说(穿越文笔好的高质量的古言小说)

最近一段时间我发现,关于嫡女的书越来越多。看样子,经历过穿越、重生、嫡女、庶女等类型的小说,如今又开始轮回。而且如今的女主,要是没有一两样拿得出手的金手指,好像都不好意思说是大女主。 今天花姐要推...

百科排行 2022-08-29 839 #小说 #穿越 #古言

小说里很甜的情节(甜到腻的小说推荐) 百科排行

小说里很甜的情节(甜到腻的小说推荐)

我看小说一直都这么一个习惯,就是在看了小说开头,觉得有兴趣继续往下读时,先看一看最后的大结局。如果我喜欢的CP没有在一起,那么这部小说我就不看了。多少年来,这个习惯都没有改变,我只喜欢俗气而又喜气洋洋...

百科排行 2022-08-21 1.0K #小说

穿越抗战小说排行榜前十名(抗战中央军嫡系的小说) 百科排行

穿越抗战小说排行榜前十名(抗战中央军嫡系的小说)

今天给大家推荐五本顶级抗战小说,热血澎湃代入感超强,部部经典口碑爆棚!第一本 《刺刀1937》作者:西方蜘蛛平台:起点简评:1、1937年,日本正式入侵中华,想掠夺大中华土地上的一切。就在这民族存亡的...

百科排行 2022-08-06 8.7K #排行 #小说

男主腹黑肉肉超多现代(男主腹黑有点肉现代小说) 百科排行

男主腹黑肉肉超多现代(男主腹黑有点肉现代小说)

献上几本好书,供大家品鉴!!都是经典巨著,不是一般小白文可比拟的……留个小问题,下面这句话出处书单里的哪本书,高手进来!“这世上唯有生死能化解生死。 但,也唯有生死让人穷极一生都无法跨越。”《帝王业》...

百科排行 2022-08-06 2.8K #小说

重生之互联网投资人(5本主角重生创业互联网帝国的小说) 百科排行

重生之互联网投资人(5本主角重生创业互联网帝国的小说)

今天推荐5本主角重生创业互联网帝国的小说,商战精彩纷呈,让人酣畅淋漓!第一本:《重生完美时代》作者:公子不歌书评:很好看的互联网创业文,重生回2007年,李牧心里只有一个念头:那就撒开膀子、拼了命地往...

百科排行 2022-08-03 4.8K #创业 #投资 #小说

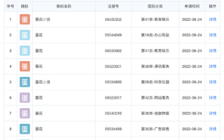
抖音申请“蛋花小说”商标:有望上线小说功能 软件之家

抖音申请“蛋花小说”商标:有望上线小说功能

抖音申请“蛋花小说”商标:有望上线小说功能...

软件之家 2022-07-27 836 #抖音 #小说

男子婚纱照被盗用作小说插图:还被写成植物人!回应:又气又好笑 IT业界

男子婚纱照被盗用作小说插图:还被写成植物人!回应:又气又好笑

男子婚纱照被盗用作小说插图:还被写成植物人!回应:又气又好笑...

IT业界 2022-07-21 758 #婚纱照 #小说

比较好看的古言小说(文笔成熟细腻的古言推荐) 百科排行

比较好看的古言小说(文笔成熟细腻的古言推荐)

这里给大家推几种类型不同的都很好看的古言小说。1,女主古言重生复仇类。《良陈美锦》《锦上》《权戚之妻》《玉楼春》等。糖鱼强推《良陈美锦》,特别好看,前半部分是宅斗,男主后半部分才上场,但是尽管上场晚,...

百科排行 2022-07-11 2.4K #小说 #古言

吐槽小说里的狗血桥段(小说中相见的狗血套路) 百科排行

吐槽小说里的狗血桥段(小说中相见的狗血套路)

1.女主穿越,前世基本上都是特工,杀手,或是各种在现世顶尖人物。2.穿越后,虐渣男前男友,踩白莲姐妹(绿茶),斗恶毒继母。遇男主,步步踏上人生巅峰。3.穿越文男主经典语录:“有意思的女人。”“女人,你...

百科排行 2022-06-30 681 #小说

糙汉现言小说 男主糙汉女主学生的小说 百科排行

糙汉现言小说 男主糙汉女主学生的小说

5本高分现言新文:糙汉、刑侦、娱乐圈、暗恋、追妻火葬场全都有1,《甜情》作者:迎宝书评:玉胡芦马甲,作精难搞白富美vs霸道糙汉富二代 ,挺好看的,很撩,很带感!豪门世家+糙汉组合,而且r渣很多,男主偏...

百科排行 2022-06-29 1.4K #小说

首页 上页 1 2 3 4 5 6 7 8 9 10 下页 尾页

最新文章

  • 遗憾!重庆江北嘴的“坑”

    遗憾!重庆江北嘴的“坑”

    2025-09-24 0
  • Bitget 注册邀请链接【2025最新】手续费返佣+注册奖励全攻略

    Bitget 注册邀请链接【2025最新】手续费返佣

    2025-08-28 0
  • 如何购买Bitget Token(BGB)

    如何购买Bitget Token(BGB)

    2025-08-28 0
  • 重庆旅游的花费因旅行方式|重庆旅游花多少钱。

    重庆旅游的花费因旅行方式|重庆旅游花多少钱。

    2025-06-16 0
  • 福建旅游花多少钱?|福建旅游的花费因旅行方式、行程时长、住宿餐饮标准

    福建旅游花多少钱?|福建旅游的花费因旅行方式、行程时

    2025-06-16 0
  • 开源,免费,新一代智能国产品开源WAF的NO1,雷池(SafeLine)

    开源,免费,新一代智能国产品开源WAF的NO1,雷池

    2025-06-16 0

热门文章

    关于本站

    小猪号,分享美好数字生活! 网站地图 网站地图sitemap
    Copyright © 2019 本站由 Z-BlogPHP强力驱动渝ICP备2021004682号-2

    联系我们

    合作或咨询可通过如下方式:

    email:site777#qq.com #换@

    关注我们

    小猪号二维码