小猪号
  • 首页
  • 资讯中心
    • IT业界
    • 实时快讯
    • 手机平板
    • 爱车一族
    • 游戏世界
    • 家电数码
    • 软件之家
    • 电脑办公
    • 科学动态
    • 影音达人
  • 苹果新闻
  • 特斯拉
  • 技术分类
    • 苹果技术
    • safari教程
    • Homepod技术
    • Mac技巧
    • Mac工具软件
    • AirPods教程
    • AirTag教程
    • iPhone教程
    • iPad教程
    • Apple Watch教程
    • Apple 服务计划
    • Pages教程
    • Numbers教程
  • 智能时代
    • 人工智能
    • 智能家居
    • 智能穿戴
  • 百科排行
    • 产品运营
    • 创业资讯
    • 手机术语
    • 手机问题
    • 装修建材
    • 网络流行榜
标签
首页 小猪 第3372页发布的文章
苹果宣布将从 iPhone 12/13 系列开始自助维修计划,向个人消费者提供零件、工具和维修手册 苹果新闻

苹果宣布将从 iPhone 12/13 系列开始自助维修计划,向个人消费者提供零件、工具和维修手册

...

苹果新闻 2021-12-28 1.1K #苹果 #Apple Watch #iPhone #iPad #Pod #Mac #Apple 配件

iOS 15.2 Beta 3 支持用户在 Apple Music 播放列表中搜索特定歌曲 苹果新闻

iOS 15.2 Beta 3 支持用户在 Apple Music 播放列表中搜索特定歌曲

...

苹果新闻 2021-12-28 1.0K #苹果 #Apple Watch #iPhone #iPad #Pod #Mac #Apple 配件

iOS 15.2 测试版泄露全新“SportsKit”框架:Apple TV 小组件实时更新体育比赛 苹果新闻

iOS 15.2 测试版泄露全新“SportsKit”框架:Apple TV 小组件实时更新体育比赛

...

苹果新闻 2021-12-28 1.1K #苹果 #Apple Watch #iPhone #iPad #Pod #Mac #Apple 配件

iPhone 13 系列需求强劲推动,分析师预计 iPhone 四季度销量将超 8000 万部 苹果新闻

iPhone 13 系列需求强劲推动,分析师预计 iPhone 四季度销量将超 8000 万部

...

苹果新闻 2021-12-28 1.1K #苹果 #Apple Watch #iPhone #iPad #Pod #Mac #Apple 配件

苹果公布自助维修计划,iFixit:观念大转变,消费者的胜利 苹果新闻

苹果公布自助维修计划,iFixit:观念大转变,消费者的胜利

...

苹果新闻 2021-12-28 1.2K #苹果 #Apple Watch #iPhone #iPad #Pod #Mac #Apple 配件

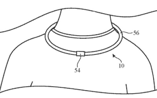
苹果新专利:或开发智能项链、智能钥匙扣等,以扩大可穿戴设备布局 苹果新闻

苹果新专利:或开发智能项链、智能钥匙扣等,以扩大可穿戴设备布局

...

苹果新闻 2021-12-28 1.0K #苹果 #Apple Watch #iPhone #iPad #Pod #Mac #Apple 配件

消息称苹果将在明年第一季度推出 iPhone SE 3,4.7 英寸 LCD 屏+A15 芯片 苹果新闻

消息称苹果将在明年第一季度推出 iPhone SE 3,4.7 英寸 LCD 屏+A15 芯片

...

苹果新闻 2021-12-28 933 #苹果 #Apple Watch #iPhone #iPad #Pod #Mac #Apple 配件

苹果宣传同播共享功能,已有大量第三方 App 支持 苹果新闻

苹果宣传同播共享功能,已有大量第三方 App 支持

...

苹果新闻 2021-12-28 1.2K #苹果 #Apple Watch #iPhone #iPad #Pod #Mac #Apple 配件

2023 年 iPhone 将搭载苹果自研 5G 芯片 苹果新闻

2023 年 iPhone 将搭载苹果自研 5G 芯片

...

苹果新闻 2021-12-28 1.0K #苹果 #Apple Watch #iPhone #iPad #Pod #Mac #Apple 配件

苹果正开发全自动驾驶汽车:消息称芯片已就绪,计划于 2025 年推出 苹果新闻

苹果正开发全自动驾驶汽车:消息称芯片已就绪,计划于 2025 年推出

...

苹果新闻 2021-12-28 1.6K #苹果 #Apple Watch #iPhone #iPad #Pod #Mac #Apple 配件

首页 上页 3368 3369 3370 3371 3372 3373 3374 3375 3376 3377 下页 尾页

最新文章

  • 遗憾!重庆江北嘴的“坑”

    遗憾!重庆江北嘴的“坑”

    2025-09-24 0
  • Bitget 注册邀请链接【2025最新】手续费返佣+注册奖励全攻略

    Bitget 注册邀请链接【2025最新】手续费返佣

    2025-08-28 0
  • 如何购买Bitget Token(BGB)

    如何购买Bitget Token(BGB)

    2025-08-28 0
  • 重庆旅游的花费因旅行方式|重庆旅游花多少钱。

    重庆旅游的花费因旅行方式|重庆旅游花多少钱。

    2025-06-16 0
  • 福建旅游花多少钱?|福建旅游的花费因旅行方式、行程时长、住宿餐饮标准

    福建旅游花多少钱?|福建旅游的花费因旅行方式、行程时

    2025-06-16 0
  • 开源,免费,新一代智能国产品开源WAF的NO1,雷池(SafeLine)

    开源,免费,新一代智能国产品开源WAF的NO1,雷池

    2025-06-16 0

热门文章

    关于本站

    小猪号,分享美好数字生活! 网站地图 网站地图sitemap
    Copyright © 2019 本站由 Z-BlogPHP强力驱动渝ICP备2021004682号-2

    联系我们

    合作或咨询可通过如下方式:

    email:site777#qq.com #换@

    关注我们

    小猪号二维码